Apple has been famously been dismissive of stylus pens for phone and tablets, so much so Steve Jobs even went as far as saying "If you see a stylus, they blew it". But it would seem that Jobs has eaten some humble pie as Apple has patented two variations of the stylus pen.
The first patent shows a heated stylus pen, which would give the users a greater precision when used with iOS devices and there capacitive touchscreen. Apparently the heat would stop the end of the pen wearing out, while the pen itself could be charged by docking it will the iPhone and iPad.
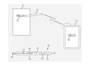
The second stylus would be a traditional virtual pen, and instead would wirelessly communicate with the iOS devices - which would allow users to write information onto another device that then would be pushed onto another source and would instantly appear on all of your iOS devices.
Capacitive screens work by recognising the electrical charge between a person’s finger and the screen, and cannot be used with a traditional stylus -- this makes them easier to use on a day-to-day basis, but a lot less accurate.
Apple is not the first company to address the issue of combining the accuracy of a stylus with the nature and ubiquity of capacitive screens. RIM has come up with a hybrid capacitive-resistive screen concept, while HTC’s took the magnet-on-a-stick route.
According to the paper work both of these patents were filed back in January of last year. Would an Apple stylus be something that you would buy? Or does it show that touch isn't the be all and end all? Does it show that something physical is better to interact with when it comes to being creative on a tablet. Let us know below.
One thought on “Apple Patents Two Variations Of The Stylus Pen”
99% of Apple’s patents never reach a product but quite a large percentage of their patents are licensed to other companies. Apple know how technology is going to progress so they get in with the patents so when other companies catch up and need to use this tech for their product, they have to pay Apple.